Качели Опера КЧ504.00
- Габариты, ДхШхВ
- 6.79 х 5.89 x 2.92 м
- Масса изделия, кг
- 756,67
- Размеры площадки для установки
- Не менее 11,73 х 11,06 м
- Возраст
- 7-14 лет
- Гарантийный срок
- 12 месяцев
- Назначенный срок службы
- 5 лет
- Сведения о сертификате
- ЕАЭС RU C-RU.HA46.B.00268/20 с 01.06.20 по 31.05.25
- Соответствие стандартам
- Данное изделие спроектировано и изготовлено согласно ТР042/2017, ГОСТ Р 52169-2012 и соответствует требованиям ТУ 28.99.32-001-09880273-2019
- Требуемая минимальная толщина синтетического покрытия
- 50 мм
Маятниковые качели любят многие дети самого разного возраста. На них можно не только весело проводить время, но и в игровой форме энергично с удовольствием укреплять здоровье, развивать мышцы рук, ног и спины, осанку, вестибулярный аппарат и чувство равновесия, улучшать координацию в пространстве. Современные маятниковые качели удивительно красивые и своим видом еще больше привлекают детвору покататься на них. Разнообразие моделей и яркие краски маятниковых качелей вызывает у детей желание как можно скорее начать игру. Ребята не просто проводят время на площадке, но и заводят новых друзей, веселятся вместе.
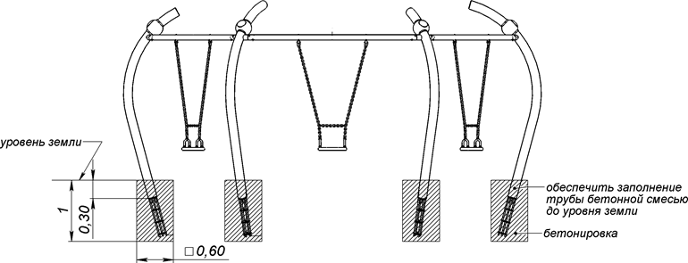
- Каркас качели выполнен из одинаковых изогнутых опорных стоек (6 шт.) и горизонтальных перекладин (6 шт.) между стойками. Стойки изготовлены из стальной трубы диаметром не менее 133 мм, с толщиной стенки не менее 6 мм. Конструкция устанавливается с помощью специальных закладных 750 мм (6 шт.) под трубу (из арматуры длиной не менее 200 мм, диаметром не менее 8 мм) методом бетонирования.
- На стойки крепятся специальные декоративные шары с крышками (сфера ф250 мм) из алюминиевого сплава в количестве 6 шт. На крышках не менее трех отверстий, расположенных через равные промежутки вдоль их края, для болтового прикрепления к сферам саморезами. Каждая сфера прикреплена к стойке с помощью двух колец фиксации сферы на трубу ф133 мм (по одному над и под сферой).
- Перекладина качелей изготовлена из металлической трубы диаметром не менее 76 мм с толщиной стенки не менее 3,5 мм. На перекладинах закреплены металлические скобы с отверстиями.
- Резиновые сидения для качелей без спинки (6 шт.) крепятся к перекладинам на подвесах ПК3-НС из нержавеющей стали с помощью цепи «curve» длиной 1810 мм (термоусадка).
- Все открытые болтовые соединения должны защищаться пластиковыми заглушками; концы болтов должны быть обрезаны и защищены травмобезопасными пластиковыми колпачками.
- В местах обрезки труб (верхние концы стоек) предусмотрены декоративные заглушки из полиэтилена низкого давления.
- Все металлические конструкции городка подвергаются обезжириванию, промывке, барботажу, травлению, а затем защитному оцинкованию или нанесению цинкосодержащего грунта с последующей окраской в автоматической линии. Окраска – полиэфирная порошковая с высокотемпературной сушкой. Порошковая краска имеет высокую стойкость к климатическим условиям и эстетичный внешний вид. Изделия из металла имеют плавные радиусы закругления и тщательную обработку краев и швов. Сварные швы гладкие и исключают возможность травмирования пользователей при контакте.
- На качели установлена идентификационная табличка.
Условия монтажа
Установка оборудования проводится на ровной площадке, свободной от насаждений (см. рекомендации Министерства Регионального Развития РФ от 27 декабря 2011 г. № 613 "Об утверждении Методических рекомендаций по разработке норм и правил по благоустройству территорий муниципальных образований"), в соответствии с требованиями завода-изготовителя. При нарушении требований к монтажу и установке изделий гарантийные обязательства снимаются с завода-изготовителя.

* Производитель оставляет за собой право выбора материалов, изготавливаемых комплектующих и внесения изменений в конструкцию и комплектацию изделия в целях улучшения качественных характеристик.
Готовые проекты площадок с товаром Качели Опера КЧ504.00